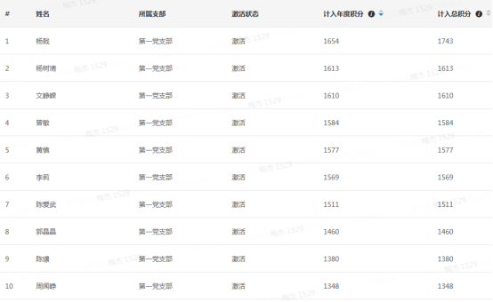
十二月份,一支部活跃学员28人,“学习强国”月平均参与率99%,学员月最高得分1654分,整体学习态势良好,人均积分较上月持平。十二月积分排前十名党员分别是:杨戟、杨树清、文峥嵘、曾敏、黄慎、李莉、陈爱武、郭晶晶、陈璟、周闻峥。现对以上同志进行通报表扬,希望其他党员同志向学习积极分子看齐,努力学习,力争上游,自觉养成良好的学习习惯,形成“比、学、赶、帮、超”的良好氛围。希望全体党员进一步提高政治站位,提高对习近平新时代中国特色社会主义思想重要性的认识,把平台作为日常学习互相交流的重要途径,经常学习、深入学习、联系实际学习,入脑入心,做到学有所获,学有所悟,学以致用,自觉强化理论武装头脑,自觉增强“四个意识”,坚定“四个自信”,做到“两个维护”。

十二月份教工第一党支部党员(前十名)“学习强国”学习情况

通识学院党总支(含第一、二支部)2021年十二月份“学习强国”学习情况